BMW’den otomobil tamirini zorlaştıracak adım

Aralık 25, 2025 10:27
1
BMW’den otomobil tamirini zorlaştıracak adım

BMW, standart el aletleriyle sökülemeyen, baş kısmı marka logosu şeklinde tasarlanan özel vidalar için patent aldı.

2
BMW’den otomobil tamirini zorlaştıracak adım

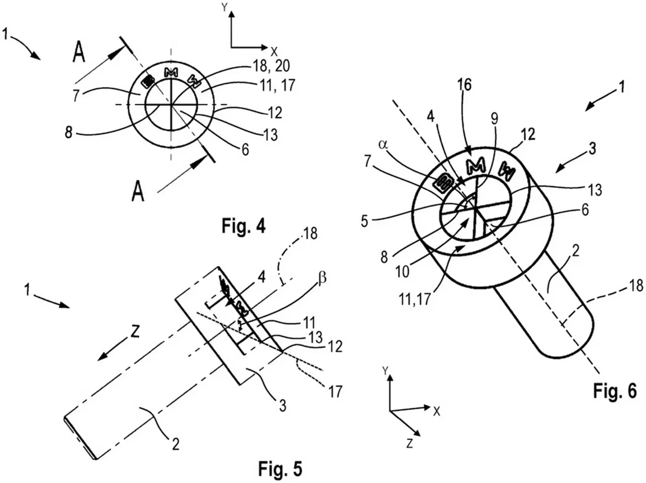
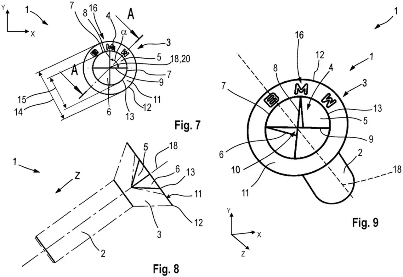
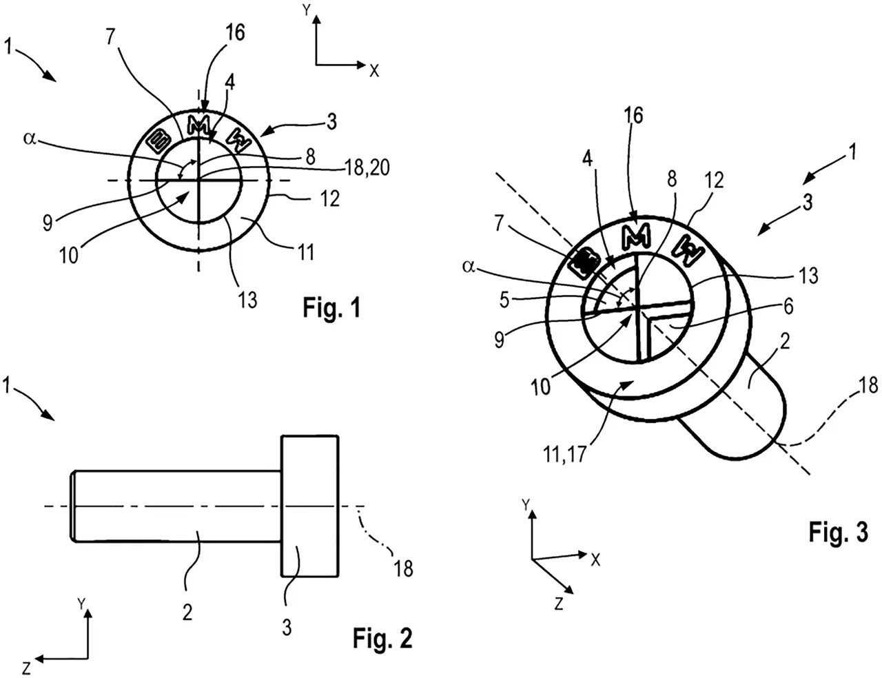
Alman otomotiv devi BMW, bu kez yeni bir modelle değil, otomobil tamiratını doğrudan etkileyecek sıra dışı bir patentle gündemde. Dünya Fikri Mülkiyet Örgütü’nün (WIPO) 11 Aralık 2025 tarihli belgelerine göre şirket, baş kısmı BMW logosu formunda olan özel vidalar geliştirdi.

3
BMW’den otomobil tamirini zorlaştıracak adım

VİDA BAŞI LOGO, ANAHTAR ÖZEL

Patentte yer alan bilgilere göre bu vidalar, alışıldık düz, yıldız ya da alyan başlardan oldukça farklı. Vida başı, BMW ambleminin dört parçaya bölünmüş karakteristik tasarımını taşıyor. Bazı bölümler girintili, bazıları ise düz ya da yükseltilmiş şekilde tasarlanmış. Sonuç net: Bu vidaları söküp takmak için standart tornavidalar yeterli değil.

4
BMW’den otomobil tamirini zorlaştıracak adım

Bu da pratikte, söz konusu vidalarla sabitlenen parçalar için yalnızca BMW bayilerinde ve yetkili servislerde bulunan özel aletlerin kullanılabileceği anlamına geliyor. Yani araç sahipleri ya da özel servisler için işler biraz daha karmaşık hale gelebilir.

MOTOR BÖLÜMÜNDEN DIŞ PANELE KADAR

Patent dosyasında yuvalı, düz ve yuvarlak olmak üzere dört farklı vida tipi yer alıyor. Bu vidaların motor bölümünden iç mekâna, hatta dış gövde panellerine kadar pek çok noktada kullanılabileceği belirtiliyor. İşte tam da bu nedenle tasarım, otomobil meraklıları ve özel servisler arasında şimdiden tartışma konusu olmuş durumda.

5
BMW’den otomobil tamirini zorlaştıracak adım

“TAMİR HAKKI” TARTIŞMASI YENİDEN ALEVLENDİ

Son yıllarda otomotiv sektöründe “tamir hakkı” kavramı giderek daha fazla konuşulurken, BMW’nin bu adımı eleştirileri de beraberinde getirdi. Özellikle rakip markaların, far gibi parçalarda tamiri kolaylaştırmak için yapıştırıcıdan vazgeçip yeniden vidalı sistemlere yöneldiği bir dönemde, bu patent ters yönde bir hamle olarak görülüyor.

6
BMW’den otomobil tamirini zorlaştıracak adım

Uzmanlara göre böyle bir uygulama, araç sahiplerini basit işlemler için bile yetkili servislere yönlendirebilir. Açıkçası bu durum, hem maliyet hem de erişilebilirlik açısından soru işaretleri doğuruyor.

7
BMW’den otomobil tamirini zorlaştıracak adım

İNTERNETİN CEVABI HAZIR

Öte yandan sosyal medyada ve otomobil forumlarında konu biraz da alaycı bir dille ele alınıyor. Birçok kullanıcı, BMW bu vidaları gerçekten seri üretime geçirirse, uyumlu tornavida uçlarının kısa sürede AliExpress ya da Temu gibi platformlarda satışa çıkacağını düşünüyor. Hatta bazıları, bu vidaların sadece görsel bir detay olarak kalmasını ve kritik parçalarda kullanılmamasını umuyor.