Kategoriler
UYGULAMALAR
İstanbul

Apple, iPhone 7 ile rakiplerinden yaklaşık 3 yıl sonra IP67 sertifikası ile suya dayanıklılık özelliğini kullanıcılarına sunmuştu. Suya dayanıklılık sertifikası olarak IP68'i kullanamayan Apple, bu alanda önümüzdeki yıllarda büyük bir değişim ile karşımıza çıkabilir.
iPhone 7, iPhone 7 Plus, iPhone 8, iPhone 8 Plus ve iPhone X suya her ne kadar dayanıklı olsa da, Lightning portundan şarj edilirken, suya düşürdüğünüz zaman bozulabiliyor. Elektrik akımını suya karşı koruyamayan Lightning portu için bugün yepyeni bir patent alındı.
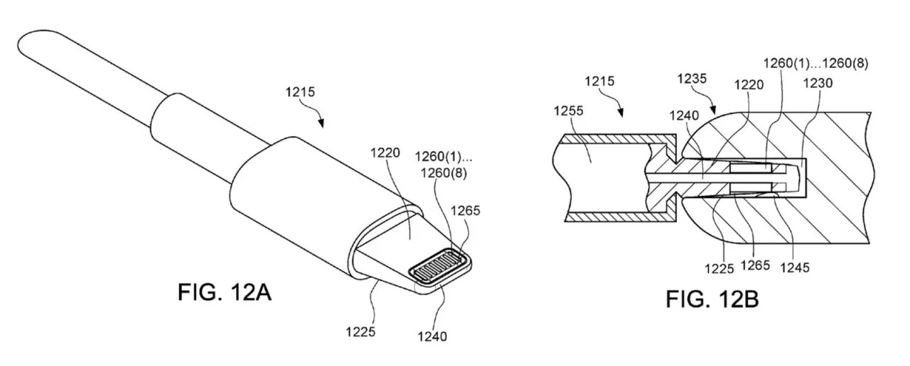
Patently Apple sitesinin ortaya çıkardığı patente göre; Lightning girişinin şekli değişecek. Konik bir şekilde olması beklenen Lightning, iPhone'a takıldığında sıkı bir şekilde portu kapatacak ve suyun içeriye sızmasını engelleyecek.

Apple'ın buna benzer yüzlerce patent aldığını ancak bunları hayata geçirmediğini belirtelim.