Kategoriler
UYGULAMALAR
İstanbul

iPhone 15 serisiyle Eylem Düğmesi ve Dinamik Ada'nın eklenmesine rağmen, Apple'ın üst düzey iPhone'ları, 2017'de iPhone X'in piyasaya sürülmesinden bu yana tasarım olarak neredeyse aynı kaldı. Ancak ortaya çıkan yeni bir patent, şirketin yıllar sonra tasarımda büyük bir değişikliğe gideceğini öne sürüyor.
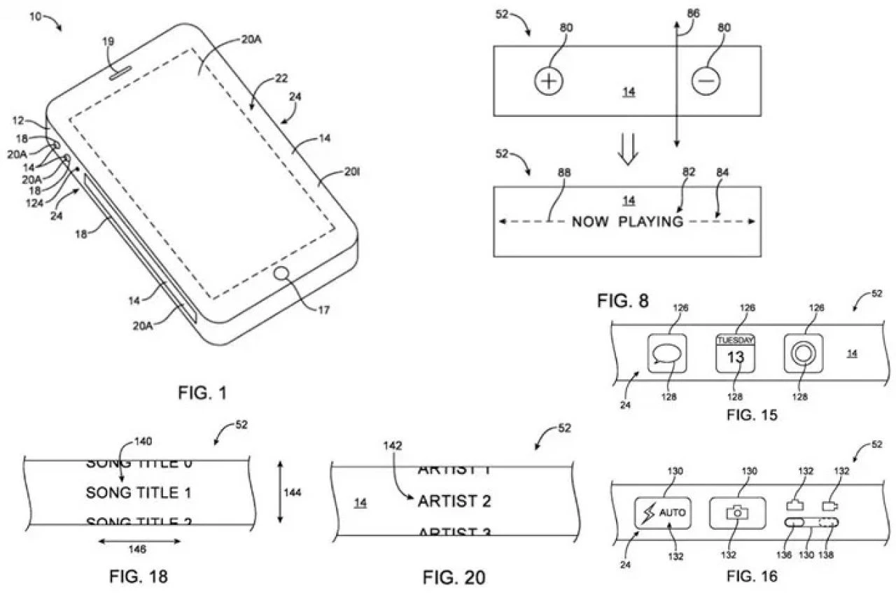
AppleInsider sitesinin haberine göre Apple, gelecekteki iPhone'lara yana monteli bir ekran getirebilecek teknoloji için bir patent aldı. Söz konusu patente eklenen resimlere bakılırsa bu ekran, MacBook Pro'larda karşımıza çıkan ve artık rafa kaldırılan Touch Bar'a benzer işlevsellik sunacak.

'Yana monte ekran' dediğimizde, iPhone'un ses veya güç düğmelerinin altında duran ince bir bölümden bahsediyoruz. Aslında Honor Magic 6 Pro gibi bazı telefonlar uçtan uca kavisli ekranlara sahipler ancak Apple'ın patenti, ana ekrandan bağımsız olarak var olan bir ekranla ilgili görünüyor.
Bu ekranın ne işe yarayacağı belirtilmese de, Dinamik Ada'ya benzer bir şekilde durum mesajlarını görüntülemek, müzik seçimini kontrol etmek ve uygulamaları başlatmak için kullanılabileceği, aynı zamanda bazı fiziksel iPhone düğmelerinin tam anlamıyla yerini alabileceği düşünülüyor.
Touch Bar özelliği MacBook Pro modellerinde uzun yıllar boyunca kullanıldı. Kullanıcılara o anda açık olan uygulamada kullanabilecekleri ek özellikleri sunan bu ekran, dinamikti ve her uygulamaya göre özelleşebiliyordu.